抖音刷到新闻安徽淮南烟草局历经 3 个月、 15 轮试验研发的夹烟补货神器,博主直呼牛逼 666666~~这个夹子不是很早以前盖房子卸砖的砖夹子吗?五金店 10 元一个网购平台普通铁质材料均价 7 元左右,这个东西想要轻质直接找定制使用铝或者空心不锈钢、高硬度塑料、再奢侈点碳纤维,前面硅胶套套上,定制+邮寄最多也就半个月就出来了。感觉太魔幻了!

通过互联网搜索相关内容以及新闻可以查到下面 2 个发明,最早再 2019 年最晚 2024 年发明的夹子。但是通过国家知识产权局查询最早在 2013 年 5 月份申请的相似专利,同年 11 月西安建筑科技大学申请的更像至今再用的手动砖夹子。

1. 专利砖夹 (2024 年):绍兴健利公司于 2024 年 7 月申请了 「搬砖用砖夹」 专利,2025 年 8 月获得授权。这种设计能防止搬运时砖块掉落,属于现代改良版本。
2. 早期简易工具 (2019 年):刘新光团队在 2019 年发明了一种铁夹子工具,底部带活动夹片和千斤顶,用于单人撬砖。但该信息来自非权威报道,未获专利验证。
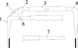
一种页岩烧结保温砌块双向伸缩组装砖卡
申请公布号:CN103603505A
申请号:201310606438X
申请人:西安建筑科技大学
申请日:2013.11.22
申请公布日:2014.02.26
发明人:白国良; 浮广明; 秦朝刚; 刘超; 余青; 王琦
分类号:E04G21/16(2006.01)

摘要:
本发明公开了一种页岩烧结保温砌块双向伸缩组装砖卡,包括加力夹杆、正丝夹杆、套筒和反丝夹杆;加力夹杆、正丝夹杆和反丝夹杆均为 L 型杆件;所述加力夹杆包括第一砖夹以及与第一砖夹相垂直的手拉柄,手拉柄的中部设有圆孔;正丝夹杆包括夹杆连接杆和与夹杆连接杆相垂直的套筒连接螺杆;夹杆连接杆的末端设有圆孔,夹杆连接杆通过转轴连接在加力夹杆的手拉柄上;反丝夹杆包括螺杆以及与螺杆相垂直的第二砖夹;套筒的一端连接正丝夹杆,另一端连接反丝夹杆;第一砖夹和第二砖夹之间形成夹持空间,用以将夹持的砌块置于其内。该砖卡解决了不同型号页岩烧结保温砌块由于尺寸不同,无法采用单一固定尺寸砖夹搬运的难题,使砌块搬运和砌筑施工更方便。
一种多用途砖夹
申请公布号:CN103318595A
申请号:201310185577X
申请人:苏州市职业大学
申请日:2013.05.20
申请公布日:2013.09.25
发明人:夏祖祥; 江龙; 郭南初
分类号:B65G7/12(2006.01)

摘要:
本发明公开了一种多用途砖夹,包括左夹片、第一连夹杆、第一手柄、右夹片、第二连夹杆和第二手柄;所述左夹片与第一连夹杆设置成一体,且所述第一连夹杆通过固定销 A 与第一手柄连接,以使第一手柄可绕固定销 A 转动;所述第一连夹杆与第二连夹杆之间通过固定销 B 连接;所述第二连夹杆与右夹片之间通过固定销 C 连接,并可通过作用右夹片上的拉杆部,使其与左夹片配合,将所需要作用的砖块夹持住;所述右夹片与第二连夹杆之间还设置有第一弹簧;所述第二连夹杆通过固定销 D 与第二手柄相连接,以使第二手柄绕固定销 D 旋转。本发明能够方便地实现近、远距离搬运砖块,其安全性高,效率高。
国家知识产权局:http://epub.cnipa.gov.cn 通过申请号或者关键词查询








![[奇葩一说]小仙女擦碰新车反手殴打辱骂车主](http://www.xyok.net/wp-content/uploads/2025/11/QQ_1764413294495-75x75.png)





![[奇葩一说]小仙女擦碰新车反手殴打辱骂车主](http://www.xyok.net/wp-content/uploads/2025/11/QQ_1764413294495-360x180.png)










